產品介紹
GCL系列單軌小車是一種結構簡單 ,操作方便,輕小型調運套起重機械,它可以與手拉葫蘆,環(huán)鏈電動葫蘆等起重產品配套組成起重運輸小車,自如地運行于可以有一定曲率半徑的工字鋼軌道的下翼緣 上,用來調運貨物,設備等。
GCL系列單軌小車用途:廣泛地適用于工廠、礦山、碼頭、倉庫、建筑工地等,單軌小車用于安裝機器設備,吊運貨物的場合,單軌小車尤其適用于無電源地點的作業(yè)。
特點:
1、 單軌行車使用安全,維護方便。
2、 單軌行車結構緊湊,安裝尺寸小。
3、單軌行車 車輪間距調整方便,適用多種工字鋼。
4、 單軌行車左、右墻板鉸鏈聯結,在重力的作用下,可自行調整高度,使四個車輪受力均勻。
5、單軌行車 傳動效率高,并可在較小回轉半徑的彎道上行駛。

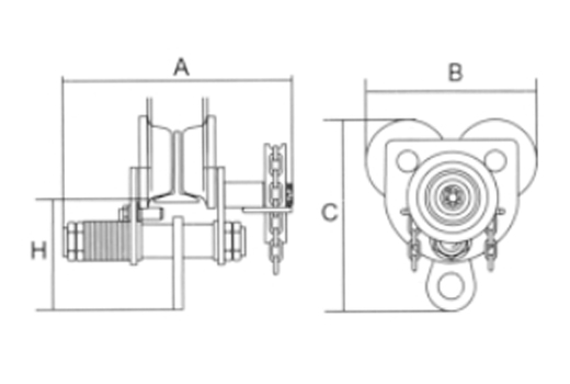
| 型號 |
工字梁軌道范圍 (mm) |
凈重 (kg) |
試驗載荷 (kn) |
外形尺寸(mm) | |||
| A | B | C | H | ||||
| 0.5T | 68-126 | 7.8 | 6.25 | 283 | 213 | 200 | 150 |
| 1T | 80-146 | 11.2 | 12.5 | 317 | 260 | 253 | 170 |
| 2T | 80-168 | 13.0 | 25 | 360 | 300 | 310 | 180 |
| 3T | 88-168 | 27.0 | 37.5 | 380 | 345 | 357 | 190 |
| 5T | 100-180 | 39.0 | 62.5 | 400 | 395 | 400 | 210 |